一般來講橡膠輸送帶主要布置在皮帶機滾筒上,但橡膠帶在工作過程中容易跑偏,從而使其脫落或傾斜,影響正常生產作業,另外由于輸送機滾筒一般為金屬制成,而環形皮帶一般由橡膠制成,兩者之間的摩擦力如果不是很大,則對傳送帶起到的調心作用并不是很好,而有一種膠帶運輸機的滾筒為圓柱形,其筒體兩端設置的防滑體只是阻止了膠帶沿軸向的滑動,加之其結構為金屬材料制成,所產生的摩擦力不大,調心作用也不是很明顯;

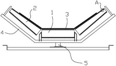
為了解決了現有技術中運輸皮帶在普通滾筒上的跑偏、調心效果不很好的問題,專業橡膠輸送帶廠家專門研發出了一種可自動調心、效果更好的膠面型調心托輥,此種產品的結構主要包括:若干托輥,具體為設置在中間的托輥一、傾斜設置在其兩邊的托輥二,在輥一和輥二的表面上分別設置有一層橡膠層,輥一和輥二組合形采凹槽狀,這樣會對設置在托輥上的橡膠傳送帶起到自動調心的作用,輥一和輥二表面均設有橡膠層,由于橡膠間摩擦系數遠大于橡膠與金屬之間的,根據摩擦系數公式,當壓力一定的情況下,摩擦系數越大,所得到的摩擦力也就越大,進而使工業傳送帶兩側受到向心力作用,對其進行糾偏,該向心力就是摩擦力,因此該橡膠層大大增加了摩擦力,即提高了對工業輸送帶調心的作用,其中輥一為圓柱狀,輥二為錐狀,輥一水平設置在中間,兩個輥二分別錐頂向上傾斜設置在輥一的兩邊,輥二不僅可以起到阻擋耐磨傳送帶兩個側邊的作用防止跑偏,同時也提高了托輥的調偏作用;
具體工作機理:托輥安裝在輸送機支架上,在支架底部設置有鋼性安裝底座,可通過螺栓或者焊接的方式將托輥和整個安裝座固定在皮帶機床上,生產作業時,由于輥一兩邊布置有輥二,可以防止輸送帶的跑偏,如果發生跑偏,兩側輥二上的皮帶所受向心力的大小是不同的,向外跑偏一側的向心力要遠大于另一側,兩個方向上會產生一個向心力差,在此作用下,橡膠傳送帶就會自動回到滾筒的中心位置,完成調心,另外由于托輥表面的橡膠耐磨層,增強了與環形橡膠輸送帶之間的向心力,因此大幅度提高了其自身的調偏作用,使得生產效率同步得以提升;
河北保定坤碩高品質橡膠帶生產廠家,更多技術動態為您推薦:
《方便耐用型皮帶扣是工藝中最理想之選》